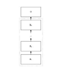
--- tags: - custom - cifar-10 - image-classification - block-architecture language: en framework: pytorch metrics: - accuracy: 75.43 license_name: mit datasets: - CIFAR-10 --- # BlockNet10 - CNN for CIFAR-10 dataset ## Overview BlockNet10 is a neural network architecture designed for image classification tasks using the CIFAR-10 dataset. This model implements a sequence of intermediate blocks (B1, B2, ..., BK) followed by an output block (O). ## Architecture Details ### Intermediate Block (Bi) Each intermediate block receives an input image x and outputs an image x'. The block comprises L independent convolutional layers, denoted as C1, C2, ..., CL. Each convolutional layer Cl in a block operates on the input image x and outputs an image Cl(x).
Equation 1
The output image x' is computed as x' = a1C1(x) + a2C2(x) + ... + aLCL(x), where a = [a1, a2, ..., aL]T is a vector computed by the block. The vector a is obtained by computing the average value of each channel of x and passing it through a fully connected layer with the same number of units as convolutional layers in the block.
Figure 1
### Output Block (O) The output block processes the final output image from the intermediate blocks for classification. ## Analytics
Epoch Number Train Accuracy Test Accuracy Average Loss
50 75.43 80.56 0.685
## Clone on GitHub You can contribute to the advancement of this architecture, changes in hyperparameter, or solve issues here. ## Citation If you use BlockNet10 in your research or work, please cite it as follows: ```bibtex @article{blocknet10, title={BlockNet10: CIFAR-10 Image Classifier}, author={Siddhesh Kulthe}, year={2024}, publisher={Hugging Face}, url={https://huggingface.co/siddheshtv/BlockNet10} } ``` --- ## license: mit